Nr ćw. 108 |
Data: 05.11.12 |
Buszka Adam Nieborski Jędrzej |
Wydział
Maszyn Roboczych |
Semestr: I |
grupa 6 nr lab. 1 |
prowadzący: Bartosz Bursa
|
Przygotowanie: |
Wykonanie: |
Ocena ostateczna: |
||
Temat: Wyznaczanie modułu Younga metodą ugięcia.
Wstęp teoretyczny:
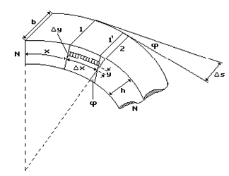
Gdy na podłużny pręt działa siła prostopadle do jego długości, doznaje on ugięcia, a wielkość tzw. strzałki ugięcia S jest zawsze proporcjonalna do siły F, zależy od wymiarów geometrycznych pręta, sposobu jego mocowania
i rodzaju materiału, z którego jest on wykonany. Pręt na rysunku pod działaniem siły ugina się w ten sposób, że jego górne warstwy są rozciągane a dolne ściskane. W środku wysokości istnieje warstwa, której długość nie ulega zmianie. Przekroje prostopadłe pręta, przy braku obciążenia są wzajemnie równoległe, tworzą natomiast kąt j po przyłożeniu siły.

Jeśli rozpatrzymy element pręta o długości ![]()
, grubości ![]()
i szerokości b, znajdujący się w odległości x od krawędzi zamocowanej i na wysokości y powyżej warstwy środkowej to na skutek ugięcia belki badana warstwa ulega ugięciu o j y. Zgodnie z prawem Hooke'a wydłużenie jest proporcjonalne do siły i długości początkowej oraz odwrotnie proporcjonalne do powierzchni przekroju.

gdzie E - moduł Younga,
Fn - siła rozciągająca badaną warstwę elementarną.
Moduł Younga - wielkość określająca sprężystość materiału. Wyraża ona, charakterystyczną dla danego materiału, zależność względnego odkształcenia liniowego ε materiału od naprężenia σ, jakie w nim występuje w zakresie odkształceń sprężystych.
Jednostką modułu Younga jest paskal, czyli N/m2.
W rozpatrywanym przypadku użyty został pręt obciążony na środku i podparty obustronnie, w równych odległościach od obciążenia.
W związku z powyższym wzory na strzałki ugięcia prętów dwustronnie podpartych prezentują się następująco:
przekrój |
prostokątny |
kołowy |
Strzałka ugięcia |
|
|
Moduł Younga |
|
|
gdzie:
l/b/h - długość/szerokość/wysokość pręta
F - siła działająca na belkę
Przebieg doświadczenia
1. Zmierzyć wymiary poprzeczne pręta.
2. Zmierzyć odległości między krawędziami podpierającymi i wyznaczyć środek pręta.
3. Wypoziomować katetometr i przy jego pomocy wyznaczyć położenie górnej krawędzi pręta
nieobciążonego ![]()
.
4. Obciążając kolejno środek pręta ciężarkami (wg kolejności 1+2+3+4+5) odczytywać położenie
górnej krawędzi pręta.
5. Powtórzyć pomiary strzałki ugięcia przy zmniejszaniu obciążenia.
6. Obliczyć wartości średnie modułu Younga E.
Pomiary zostały przeprowadzone dla czterech różnych prętów
Tabele wyników:
2.1. Masy obciążników:
Lp |
m [kg] |
1 |
0.2 |
2 |
0.2 |
3 |
0.5 |
4 |
0.5 |
5 |
0.5 |
2.2.1 Pręt o przekroju kwadratowym nr 1. - aluminiowy kwadratowy
2.2.1.1 Wymiary: b = 8 mm,
h = 8 mm,
l = 64.6 mm,
h0 = 610,82mm
2.2.1.2. Tabela wyników:
Lp |
obciążen. [g] |
wysokość h [mm] |
strzałka Ds [mm] |
moduł Younga 1010 [N/m2] |
|
1 |
200 |
610,67 |
0,15 |
16,30 |
|
2 |
400 |
610,15 |
0,67 |
48,83 |
|
3 |
900 |
608,79 |
2,03 |
89,38 |
|
4 |
1400 |
607,86 |
2,96 |
141,89 |
|
5 |
1900 |
606,43 |
4,39 |
218,22 |
|
Eśr. |
103,73*1010 N/m2 |
||||
2.2.2 Pręt o przekroju kwadratowym nr 2. stalowy kwadratowy
2.2.2.1 Wymiary: b = 7 mm,
h = 5,2 mm,
l = 64,4 mm,
h0 = 627,35mm
2.2.2.2. Tabela wyników:
Lp |
obciążen. [g] |
wysokość h [mm] |
strzałka Ds [mm] |
moduł Younga 1010 [N/m2] |
|
1 |
200 |
621,75 |
6,3 |
99,38 |
|
2 |
400 |
620,93 |
6,42 |
109,3 |
|
3 |
900 |
619,43 |
7,92 |
139,04 |
|
4 |
1400 |
617,82 |
9,53 |
307,01 |
|
5 |
1900 |
616,55 |
10,8 |
425,01 |
|
Eśr. |
237,67*1010 N/m2 |
||||
2.3.1. Pręt o przekroju kołowym nr 1. aluminiowy okrągły
2.3.1.1. Wymiary: r = 4 mm,
l = 64,6mm,
h0 = 612,14mm
2.3.1.2. Tabela wyników:
Lp |
obciążen. [g] |
wysokość h [mm] |
strzałka |
moduł Younga 1010 [N/m2] |
|
1 |
200 |
611,57 |
0,57 |
136,33 |
|
2 |
400 |
610,77 |
1,37 |
139,73 |
|
3 |
900 |
608,85 |
3,29 |
147,95 |
|
4 |
1400 |
606,79 |
5,35 |
170,11 |
|
5 |
1900 |
605,21 |
6,93 |
148,74 |
|
Eśr. |
163,60*10 10 N/m2 |
||||
2.3.2. Pręt o przekroju kołowym nr 1. stalowy okrągły
2.3.2.1. Wymiary: r = 4 mm,
l = 64,6 mm,
h0 = 626,56mm
2.3.2.2. Tabela wyników:
Lp |
obciążen. [g] |
wysokość h [mm] |
strzałka Ds [mm] |
moduł Younga 1010 [N/m2] |
|
1 |
200 |
625,95 |
0,61 |
508,14 |
|
2 |
400 |
625,71 |
0,85 |
180,30 |
|
3 |
900 |
625,22 |
1,34 |
230,76 |
|
4 |
1400 |
624,81 |
1,75 |
243,02 |
|
5 |
1900 |
623,95 |
2,61 |
203,45 |
|
Eśr. |
219,74*1010 N/m2 |
||||
Wnioski:
Otrzymane wyniki nie są wolne od błędów pomiarowych wynikających z błędu ludzkiego oraz z warunków panujących w sali w czasie przebiegu ćwiczenia (np. temperatura panująca w sali odbiegała od 20°C). Otrzymane wyniki pozwalają, w przybliżeniu, zidentyfikować materiał z którego zostały wykonane pręty oraz udowadniają słuszność wyznaczania modułu Younga metodą ugięcia
.
Pręt o przekroju kwadratowym nr 1: aluminiowy
Pręt o przekroju kwadratowym nr 2: stalowe
Pręt o przekroju kołowym nr 1: aluminiowy
Pręt o przekroju kołowym nr 2: stalowe