Terminologia stolarki okienno drzwiowej I NIE TYLKO

Okna, wykaz terminów polskich i odpowiadających im terminów w językach obcych

część oporowa ościeżnicy

stop

arrêt

Anschlag

drzwi

door

porte

Tür

drzwi balkonowe

casement door

porte-fenêtre

Fenstertür

drzwi dwuskrzydłowe rozwierane

double leaf door

porte battante à deux vantaux

Drehtür, zweiflügelig

drzwi dwuskrzydłowe wahadłowe

double leaf double swing door

porte va-et-vient à deux vantaux

zweiflügelige Pendeltür/Schwingtür

drzwi dwustronnego działania,

double action door

porte va-et-vient

Pendeltür

drzwi jednoskrzydłowe rozwierane

single side-hung door

porte battante à un vantail

Drehtür

drzwi jednoskrzydłowe wahadłowe

single leaf double swing door

porte va-et-vient à un vantail

einflügelige Pendeltür / Schwingtür

drzwi lewe

left hand door

porte ouvrant à gauche

linksöffnende Tür

drzwi obrotowe prawe (trzy lub czteroskrzydłowe)

right revolving door (three or four leaves)

porte carrousel (à tambour) (à trois ou quatre vantaux)

rechtsdrehende Karusselltür (drei oder vierflügelig)

drzwi płycinowe/skrzydło drzwiowe przeszklone

Panelled door/glazed door leaf

vantail de porte menuisee

Füllungstür/verglastes Türblatt

drzwi (skrzydła) płytowe

flush door (Ieaf)

vantail de porte piane

glattes Türblatt / Sperrtür

drzwi podwójne

double door

double porte

Doppeltür

drzwi prawe

right hand door

porte ouvrant à droite

rechtsöffnende Tür

drzwi przesuwne

sliding door

porte coulissante

Schiebetür

drzwi przesuwno -składane

centre fold door

porte repliable

Faltschiebetür/Harmonikatür

drzwi składane

folding door

porte accordeon

Falttür

drzwi wewnętrzne

internal door

porte intérieure

Innentür

drzwi zewnętrzne

external door

porte extérieure 

Außentür

kierunek obrotu

direction of rotation

sens d'ouverture

Drehrichtung

listwa maskująca

architrave

couvre-joint

Deckleiste

listwa przyszybowa

glazing bead

parclose

Glashalteleiste

listwa zasłaniająca

architrave

couvre-joint

Deckleiste

łącznik

subframe/coupling bar

dormant de pose

Blindstock

nadproże

lintel

linteau

Sturz

nadproże ościeżnicy

head

traverse haute

oberstes Rahmenteil

nadświetle

fanlight

imposte

Oberlicht

nominalna szerokość otworu

nominal opening width

ouverture nominale (largeur)

lichte Falzbreite

nominalna wysokość otworu

nominal opening height

ouverture nominale (hauteur)

lichte Falzhöhe

okno

window

fenêtre

Fenster

okno dachowe

roof window

fenêtre de toit

Dachflächenfenster

okno jednoramowe

single window

fenêtre standard

Einfachfenster

okno obrotowe

vertical pivot casement

fenêtre pivotante

Wendefenster

okno odchylne otwierane na zewnątrz

top-hung casement opening outwards

fenêtre projetante

Klappfenster

okno odchylne z osią przesuwną (typu włoskiego)

sliding projecting, top-hung casement Italian style window

fenêtre projetante, ( à visière simple), à axe coulissant, fenêtre à l'italienne

Senkklappfenster

okno przechylne

horizontal pivot casement

fenêtre basculante

Schwingfenster

okno przesuwne pionowo

vertical sliding sash

fenêtre à guillotine

Vertikalschiebefenster

okno przesuwne poziomo

horizontal sliding

coulissants horizontaux

Horizontalschiebefenster

okno przesuwne poziomo dwuskrzydłowe

double horizontal sliding sash

fenêtre coulissante à l'horizontale à deux vantaux

Horizontalschiebefenster zweiflügelig

okno rozwierane jednoskrzydłowe otwierane do wewnątrz

single side-hung casement, opening inwards

fenêtre battante à un vantail, ouverture vers l'intérieur

Drehfenster, einflügelig nach innen öffnend

okno rozwierane jednoskrzydłowe, otwierane na zewnątrz

single side-hung casement, opening outwards

fenêtre battante à un vantail, ouverture vers l'extérieur

Drehfenster, einflügelig nach außen öffnend

okno rozwierane z osią przesuwną, otwierane na zewnątrz

sliding projecting, side-hung casement, open out

fenêtre à visiere simple à axe vertical, overture vers l'extérieur

Schiebedrehfenster nach aufsen öffnend

okno składane

sliding folding window

fenêtre accordeon

Faltfenster

okno skrzynkowe

double window

double fenêtre monobloc

Doppelfenster/ Kastenfenster

okno stałe

fixed window

fenêtre fixe

fenster Flügelrahmen

okno uchylne

bottom hung casement

fenêtre à soufflet

Kippfenster

okno uchylno-przesuwne, dwuskrzydłowe

double tilting sliding sash

fenêtre oscillo - coulissante

Hebeschiebekipp-Fenster /Tür

okno uchylno-rozwierane

tilt and turn

fenêtre oscillo battante à un vantail

Drehkippfenster

okno unoszono-przesuwne

lifting sliding sash

fenêtre coulissante à levage

Hebeschiebe-Fenster / Tür

okno zespolone

coupled window

fenêtre à vantaux dédoublés

Verbundfenster / Doppelfenster

okno żaluzjowe

louvred window with intermediate axis

fenêtre jalousie à lames orientables

Lamellenfenster

oszklenie

glazing

vitrage

Verglasung

oszklenie dolne

sublight

allège

Unterlicht

oszklenie stałe

fixed light

chàssis fixe

Festverglasung

ościeże

reveal

tableau/ébrasernent

Leibung

ościeżnica

frame

dormant

Rahmen / Zarge

ościeżnica drzwiowa

door frame

dormant de porte

Türstock / Zarge

otwór

opening

-

Öffnung

otwór ościeża

structural opening

baie

lichtes Rohbaumaß (Wandöffnung)

podstawa wrębu szybowego

glazing rebate platform

(fond de) feuillure

Glasfalzgrund

powierzchnia otwierająca

opening face

face d'ouverture

Öffnunqsfläche

powierzchnia zamykająca

closing face

face de fermeture

Schließfläche

próg

sill

traverse basse de dormant, pièce d'appui

Blendrahmen, Unterstück, Sohlbank, Wetterschenkel

próg

threshold

seuil

Schwelle

przylga

rebate

feuillure

Falz

ramiak boczny skrzydła

stile

montant de rive d'ouvrant

aufrechtes Flügel- Rahmenteil

ramiak dolny ościeżnicy

sili

traverse basse de dormant, pièce d'appui

Blendrahmen - Unterstück, Sohlbank, Wetterschenkel

ramiak dolny skrzydła

bottom rail

traverse basse

Unterstück des Flügelrahmens

ramiak górny ościeżnicy

head

traverse haute

oberstes Rahmenteil

ramiak górny skrzydła

toprail

traverse haute

Oberstück des Flügelrahmens

skrzydło bierne

inactiv leaf

vantail secondaire

Standflügel

skrzydło czynne

active leaf

vantail de service

Hauptflügel, Gehflügel

skrzydło drzwiowe

door leaf

vantail de porte

Türblatt

skrzydło drzwiowe płycinowe/ przeszklone

panelled/glazed door leaf

vantail de porte menuisée

Füllungstür/verglastes Türblatt

skrzydło drzwiowe płytowe

flush door leaf

vantail de porte plane

glattes Türblatt

skrzydło okienne obracane

casement

vantail de fenêtre à frappe

Drehflügel

skrzydło okienne przesuwne

sash

ventail coulissant

Schiebeflügel

słupek dystansowy

subframe/coupling bar

dormant de pose

Blindstock

słupek okienny

mullion

meneau

Pfosten

stojak ościeżnicy

jamb

petit bois

Sprosse

szczeblina

glazing bar

petit bois

Sprosse

szerokość ościeżnicy

frame width

dormant hauteur

Rahmen/ Stockaußenmaßbreite

szerokość otworu ościeża

structural opening width

baie largeur

lichtes Rohbaumaß (Wandöffnung)

szerokość skrzydła drzwiowego lub okiennego

leaf casement or sash width

largeur du vantail

Flügelbreite

szerokość światła ościeżnicy

clear opening width

passage en largeur

lichte Öffnungsbreite

szerokość we wrębie ościeżnicy

nominal opening width

ouverture nominale (largeur)

lichte Falzbreite

ślemię

transom

traverse intermédiaire

Riegel/Kämpfer

światło ościeżnicy

clear opening

passage libre

lichter Durchgang

wymiary modularne

coordinating dimension

dimension de coordination

Baurichtmaß

wypełnienie

infill

remplissage

Füllung

wypełnienie płytowe

infill panel

vitrage

Verglasung

wysokość ościeżnicy

frame height

dormant targeur

Rahmen/ Stockaußenmaßbreite

wysokość otworu ościeża

structural opening height

baie hauteur

lichtes Rohbaurnaß (Wandöffnung)

wysokość ramiaka dolnego/progu

sill/threshold height

hauteur de traverse basse de dormant/ seuil

Schwelle/Schwellenhöhe

wysokość skrzydła drzwiowego lub okiennego

leaf casement or sash height

hauteur du vantail

Flügelhöhe

wysokość światła ościeżnicy

clear opening height

passage en hauteur

lichte Öffnungshöhe

wysokość we wrębie ościeżnicy

nominal opening height

ouverture nominale (hauteur)

lichte Falzhöhe

wysokość wrębu szybowego,

glazing rebate upstand

listel-batté

Glasfalzhöhe

zespół drzwiowy

door set

bloc porte

Türelement (von einem Anbieter)

zestaw drzwiowy

door assembly

bloc porte assemblé

Türelement (von verschiedenen Anbietern)



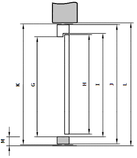
Wymiary - szerokość

 A – szerokość światła ościeżnicy
B – szerokość skrzydła okiennego
C – nominalna szerokość otworu
C – szerokość we wrębie ościeżnicy
D – szerokość ościeżnicy
E – wymiary modularne
F – szerokość otworu ościeża

Wymiary - wysokość

 G – wysokość światła ościeżnicy
H – wysokość skrzydła okiennego
I – nominalna wysokość otworu
I – wysokość we wrębie ościeżnicy
J – wysokość ościeżnicy
K – wymiary modularne
L – wysokość otworu ościeża
M – wysokość ramiaka dolnego/progu

Elementy okien



1

nadproże

lintel

linteau

Sturz

2

ramiak górny ościeżnicy

head

traverse haute

oberstes Rahmenteil

3

nadświetle

fanlight

imposte

Oberlicht

4

ślemię

transom

traverse intermédiaire

Riegel/Kämpfer

5

ramiak górny skrzydła

toprail

traverse haute

Oberstück des Flügelrahmens

6

stojak ościeżnicy

jamb

petit bois

Sprosse

7

skrzydło okienne

window leaf

ventaile de fenêtre

Fensterflügel

8

szczeblina

glazing bar

etit bois

Sprosse

9

ramiak boczny skrzydła

stile

montant de rive d'ouvrant

aufrechtes Flügel- Rahmenteil

10

ramiak dolny skrzydła

bottom rail

traverse basse

Unterstück des Flügelrahmens

11

słupek okienny

mullion

meneau

Pfosten

12

oszklenie dolne

sublight

allège

Unterlicht

13

ramiak dolny ościeżnicy/próg

sili

traverse basse de dormant, pièce d'appui

Blendrahmen - Unterstück, Sohlbank, Wetterschenkel

die Aufsatzrolläden – rolety naokienne

das Sicken – przetłoczenie / das Hoch- und Tiefsicken – przetłoczenie wysokie i niskie

der Kodierer – enkoder

der Anschlag - węgarek

die Dampfsperre – paraizolacja

das Stulpgetriebe – zasuwnica

Allfällige Veränderungen und Ergänzungen dieses Vertrags bedürfen einer Schriftform bei sonstiger Unwirksamkeit. - Wszelkie zmiany i uzupełnienia do umowy wymagają formy pisemnej pod rygorem nieważności.

die Hebestropps – zawiesia

die Schlagzähigkeit – udarność

der Erweichungspunkt – temperatura miekniecia

der Trägheitsmoment - moment bezwładności

die Uferwand – opaska brzegowa

der Wasserdurchlass – przepust wodny

die Spundwand – grodzica

das Trägerfahrzeug – pojazd transportowy/ciężarowy

der Dreipunkt – trzypunktowy układ zawieszenia/trzypunktowy układ dźwigniowy

der Unterlenker – dolne ramię trójpunktowego układu zawieszenia

die Aufnahmetasche – kieszeń mocująca

die Gelenkwelle – wał przegubowy

das Mulchgerät – mulczer

die Bodenfreiheit – prześwit

der Volumenstrom – strumień objętości

die Tastrolle – rolka wodząca

das Kreuzgelenk – przegub krzyżakowy

die Schlegelwelle – wał bijakowy

das Aushubgelenk/Kippgelenk – przegub wychylny

die Zapfwelle – wał obrotu mocy

der Leistungsbedarf – wymagane zasilanie

die Arbeitsbreite – szerokość robocza


Wyszukiwarka

Podobne podstrony:
kosztorysowanie, W5 Remonty stolarki okiennej i drzwiowej
girlanda ozdoba okienna i nie tylko,sympatyczna
pytania enz 1 termin, Technologia żywności UR Kraków, Magisterskie - węglowodany i nie tylko ;), enz
higiena to nie tylko czystośc ciała
Szarlotka, Przepisy z Tupperware i nie tylko
Małżeństwo o jakim marzymy 29-41, DOKUMENTY NP KOŚCIOŁA ŚW I NIE TYLKO
Małżeństwo o jakim marzymy 1-10, DOKUMENTY NP KOŚCIOŁA ŚW I NIE TYLKO
List od Jezusa II, DOKUMENTY NP KOŚCIOŁA ŚW I NIE TYLKO
Dieta DiamondĂł1, Diety różne- nie tylko odchudzające
Trawka, UŻYTKI, LEGALNE NARKOTYKI I NIE TYLKO
Wokół choinki, Scenariusze zajęć i nie tylko
Oblicza apokalipsy Nie tylko Auschwitz
CHARAKTERYSTYKA STOLARKI OKIENNEJ
pbfd choroba nie tylko duzych p Nieznany
Diety odchudzajace i nie tylko
Indeks, INNE - RÓŻNOŚCI, pizza i nie tylko - przepisy
Recepty na piękne włosy i nie tylko, Ekologia, Dom bez chemii

więcej podobnych podstron